Щітка генератора
|
225 ₴
сьогодні
|
- Виробник
- CARGO (Данія)
- Каталоговий номер
- IKSX2-32
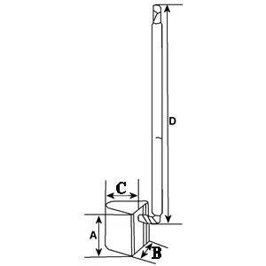
- Напруга [В]
- 12
- Висота [мм]
- 12.00
- EAN
- 5705541079229
Застосовність
- Товарна група:
- - Електрика та Освітлення Щітка стартера
